Product Summary
The MCD200-16IO1B is a MOD thyristor/diode. The applications of MCD200-16IO1B are Motor control, Power converter, Heat and temperature control for industrial furnaces and chemical processes, Lighting control, Contactless switches.
Parametrics
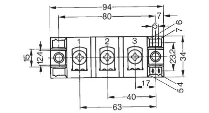
MCD200-16IO1B absolute maximum ratings: (1)ITRMS/IFRMS:340A; (2)ITAVM/IFAVM:196A or 216A; (3)PGM:120W or 60W; (4)PGAV:20W; (5)VRGM:10V; (6)TVJ:-40 to +125℃; (7)Tvjm:125℃; (8)Tatg:-40 to +125℃; (9)Visol:3000V~; (10)weight:125g.
Features
MCD200-16IO1B features: (1)International standard package; (2)Direct copper bonded Al2O3 -ceramic base plate; (3)Planar passivated chips; (4)Isolation voltage 3600 V; (5)UL registered, E 72873; (6)Keyed gate/cathode twin pins.
Diagrams

![]() |
![]() MCD200-14io1 |
![]() Ixys |
![]() Discrete Semiconductor Modules 200 Amps 1400V |
![]() Data Sheet |
![]() Negotiable |
|
||||
![]() |
![]() MCD200-18io1 |
![]() Ixys |
![]() Discrete Semiconductor Modules 200 Amps 1800V |
![]() Data Sheet |
![]() Negotiable |
|
||||
![]() |
![]() MCD220-08io1 |
![]() Ixys |
![]() Discrete Semiconductor Modules 220 Amps 800V |
![]() Data Sheet |
![]() Negotiable |
|
||||
![]() |
![]() MCD220-14io1 |
![]() Ixys |
![]() Discrete Semiconductor Modules 220 Amps 1400V |
![]() Data Sheet |
![]() Negotiable |
|
||||
![]() |
![]() MCD220-16io1 |
![]() Ixys |
![]() Discrete Semiconductor Modules 220 Amps 1800V |
![]() Data Sheet |
![]() Negotiable |
|
||||
![]() |
![]() MCD220-18io1 |
![]() Ixys |
![]() Discrete Semiconductor Modules 220 Amps 1600V |
![]() Data Sheet |
![]() Negotiable |
|
||||
(China (Mainland))








